* Поиск по сайту Вверх Вниз



Начать новую тему Ответить на тему  [ Сообщений: 61 ]  На страницу 1, 2, 3, 4, 5  След.
Автор Сообщение
 Заголовок сообщения: Крышка радиатора, чем чревата не та крышка?
СообщениеДобавлено: 19 ноя 2012, 18:41 
Не в сети
Любитель
Любитель

Зарегистрирован: 08 авг 2012, 17:24
Сообщения: 93
Тем: 10
Откуда: Новосибирск
Машина: Toyota Vista
О машине: Toyota Vista SV55, с тахометром
Репутация: 29
Рекламные ссылки. Показывается только незарегистрированным пользователям


День добрый, одноклубники.
В общем ситуация следующая, бежит радиатор, слазит патрубок нижний, вот и подумал что крышка рабиатора виновна, пришел в магазин купил оригинальную, по виду такую же как стояла, а стояла masuma, номер у купленной крышки: 16401-20353 (http://s53.radikal.ru/i141/1204/06/3ed3e6a0cfd4.jpg)
По каталогу 16401-72090 (http://www.toko.ua/uploads/base_images/DU3-003.JPG) Есть разница в пробках, если давление на обоих 0,9?


Вернуться к началу
 Профиль Отправить email  
Ответить на тему 

 Заголовок сообщения: Re: Крышка радиатора, чем черевата не та крышка?
СообщениеДобавлено: 19 ноя 2012, 19:10 
Не в сети
Местный
Местный
Аватара пользователя

Зарегистрирован: 01 янв 2006, 04:00
Сообщения: 10044
Тем: 182
Откуда: ХМАО Роман
Машина: др. неЯпонка
О машине: Volkswagen Tiguan
Репутация: 710
Я думаю нету, а ты не мерил?

_________________
Управлял шесть лет японской мечтой - Toyota Vista Ardeo, теперь управляю немецкой мечтой - DAS AUTO.


Вернуться к началу
 Профиль  
Ответить на тему 
 Заголовок сообщения: Re: Крышка радиатора, чем черевата не та крышка?
СообщениеДобавлено: 19 ноя 2012, 19:24 
Не в сети
Любитель
Любитель

Зарегистрирован: 08 авг 2012, 17:24
Сообщения: 93
Тем: 10
Откуда: Новосибирск
Машина: Toyota Vista
О машине: Toyota Vista SV55, с тахометром
Репутация: 29
Что мерил? Если вопрос про стоявшую пробку и купленную, то они идентичны. А вот оригинал по каталогу и оригинал купленный мной не было возможности сравнить.


Вернуться к началу
 Профиль Отправить email  
Ответить на тему 
 Заголовок сообщения: Re: Крышка радиатора, чем черевата не та крышка?
СообщениеДобавлено: 19 ноя 2012, 20:59 
Не в сети
Специалист
Специалист
Аватара пользователя

Зарегистрирован: 13 апр 2012, 00:51
Сообщения: 258
Тем: 5
Откуда: Омск
Машина: Toyota Vista Ardeo
О машине: SV-50, 3S-FSE, DVD, 2люка, спойлер.
Репутация: 86
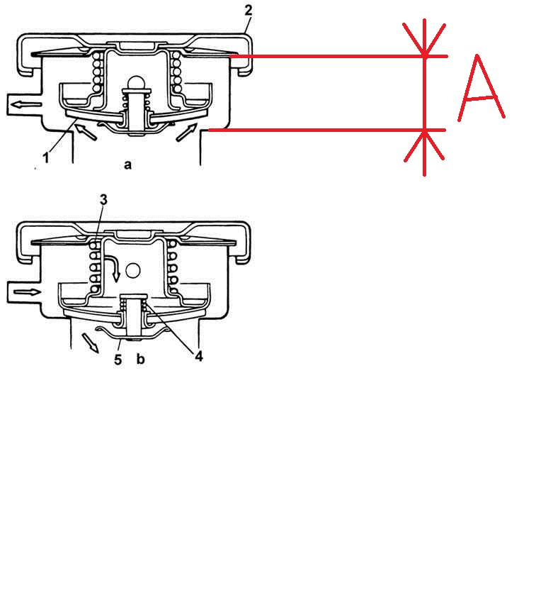
вопрос к автору темы, радиатор оригинальный? или дубликат.вот картинка, если радиатор оригинал, то расстояние А там должно соответствовать определенному значению, у дубликатного никто это значение сильно не вымеряет, при производстве, получается что если это расстояние А больше нормы то пружина клапана сброса давления сжимается сильнее поэтому давление в системе охлаждения возрастает выше нормы, а если расстояние А меньше то наоборот, но это менее губительно. Поэтому оригинальная крышка на дубликатном радиаторе не гарантирует номинальное давление в 0,88 кПа, както так :smile:
Вложение:
Безымянный.png
Безымянный.png [ 54.14 КБ | Просмотров: 9442 ]


Добавлено спустя 13 минут 9 секунд:
вот получше картинку нашёл, зря полчаса в поинте рисовал :D кстати тойота рекомендует замену крышки радиатора раз в два года...
Вложение:
116.jpg
116.jpg [ 75.18 КБ | Просмотров: 9436 ]


Вернуться к началу
 Профиль Отправить email  
Ответить на тему 
 Заголовок сообщения: Re: Крышка радиатора, чем черевата не та крышка?
СообщениеДобавлено: 19 ноя 2012, 22:12 
Не в сети
Любитель
Любитель

Зарегистрирован: 08 авг 2012, 17:24
Сообщения: 93
Тем: 10
Откуда: Новосибирск
Машина: Toyota Vista
О машине: Toyota Vista SV55, с тахометром
Репутация: 29
Радиатор китай, да еще не самого лучшего качества (качество швов т.д.) Слесарюга, спасибо.


Вернуться к началу
 Профиль Отправить email  
Ответить на тему 
 Заголовок сообщения: Re: Крышка радиатора, чем черевата не та крышка?
СообщениеДобавлено: 19 ноя 2012, 23:23 
Не в сети
Специалист
Специалист
Аватара пользователя

Зарегистрирован: 13 апр 2012, 00:51
Сообщения: 258
Тем: 5
Откуда: Омск
Машина: Toyota Vista Ardeo
О машине: SV-50, 3S-FSE, DVD, 2люка, спойлер.
Репутация: 86
эту кромку можно подточить до нужной глубины разверткой для проточки фаски седла клапана, а потом загладить горячим прутком.
Вложение:
android142.jpg
android142.jpg [ 158.06 КБ | Просмотров: 9414 ]


Вернуться к началу
 Профиль Отправить email  
Ответить на тему 
 Заголовок сообщения: Re: Крышка радиатора, чем черевата не та крышка?
СообщениеДобавлено: 19 ноя 2012, 23:34 
Не в сети
модератор
Аватара пользователя

Зарегистрирован: 27 окт 2008, 04:00
Сообщения: 12731
Тем: 15
Откуда: Вятка
Машина: др. Японка
О машине: Toyota Prius 51
Репутация: 2381
Чтобы проточить нужно знать размер А для нашей пробки, в мануале этот размер не учитывается и не указан. И как я понял из мануала из-за разных А нормальным считается давление 0,75-1,05 бар, минимально допустимое 0,6 бар.

_________________
Vista Ardeo 1999, SV50, D4, Мультик, TV...


Вернуться к началу
 Профиль Отправить email  
Ответить на тему 
 Заголовок сообщения: Re: Крышка радиатора, чем черевата не та крышка?
СообщениеДобавлено: 19 ноя 2012, 23:42 
Не в сети
Профи
Профи
Аватара пользователя

Зарегистрирован: 22 апр 2011, 03:00
Сообщения: 914
Тем: 71
Откуда: РМЭ
Машина: Toyota Vista
О машине: SV32
Репутация: 120
Ставил новую крышку, полностью идентичную старой, начались проблемы, в шланге создавалось давление такое что шланги начали сползать, поставил старую крышку - все ок. Я думаю что бывают бракованные крышки. Собираюсь попробовать "оригинал" )

_________________
Toyota Vista SV32
Toyota FunCargo


Вернуться к началу
 Профиль  
Ответить на тему 
 Заголовок сообщения: Re: Крышка радиатора, чем чревата не та крышка?
СообщениеДобавлено: 20 ноя 2012, 03:17 
Не в сети
модератор
Аватара пользователя

Зарегистрирован: 27 окт 2008, 04:00
Сообщения: 12731
Тем: 15
Откуда: Вятка
Машина: др. Японка
О машине: Toyota Prius 51
Репутация: 2381
Я тоже новую крышку из коробки поставил и неделю понять не мог, расширительный бачок полный, а в радиаторе соты видно. Снял поотжимал клапан, сухой тряпочкой протер под обратным клапаном и все заработало.

_________________
Vista Ardeo 1999, SV50, D4, Мультик, TV...


Вернуться к началу
 Профиль Отправить email  
Ответить на тему 
 Заголовок сообщения: Re: Крышка радиатора, чем черевата не та крышка?
СообщениеДобавлено: 20 ноя 2012, 08:34 
Не в сети
Специалист
Специалист
Аватара пользователя

Зарегистрирован: 13 апр 2012, 00:51
Сообщения: 258
Тем: 5
Откуда: Омск
Машина: Toyota Vista Ardeo
О машине: SV-50, 3S-FSE, DVD, 2люка, спойлер.
Репутация: 86
Vyatich писал(а):
Чтобы проточить нужно знать размер А для нашей пробки,
ну вернее для радиатора, размер А можно померить на оригинальном радиаторе, как только представиться такая возможность померяю и опубликую :igru_shka:


Вернуться к началу
 Профиль Отправить email  
Ответить на тему 
 Заголовок сообщения: Re: Крышка радиатора, чем чревата не та крышка?
СообщениеДобавлено: 21 ноя 2012, 00:01 
Не в сети
модератор
Аватара пользователя

Зарегистрирован: 27 окт 2008, 04:00
Сообщения: 12731
Тем: 15
Откуда: Вятка
Машина: др. Японка
О машине: Toyota Prius 51
Репутация: 2381
А причем тут радиатор? Мы же меняем пробку и если бы был такой параметр, то на коробке с пробкой бы написали: для такого то А. Ссылку бы глянуть по этому размеру.

_________________
Vista Ardeo 1999, SV50, D4, Мультик, TV...


Вернуться к началу
 Профиль Отправить email  
Ответить на тему 
 Заголовок сообщения: Re: Крышка радиатора, чем чревата не та крышка?
СообщениеДобавлено: 29 ноя 2012, 20:42 
Не в сети
Специалист
Специалист
Аватара пользователя

Зарегистрирован: 13 апр 2012, 00:51
Сообщения: 258
Тем: 5
Откуда: Омск
Машина: Toyota Vista Ardeo
О машине: SV-50, 3S-FSE, DVD, 2люка, спойлер.
Репутация: 86
как и обещал замерил расстояние А на оригинальном радиаторе (большая редкость а наше время) :smile: оно равно 9,4 мм.
Вложение:
116.jpg
116.jpg [ 75.18 КБ | Просмотров: 9329 ]


Вернуться к началу
 Профиль Отправить email  
Ответить на тему 
 Заголовок сообщения: Re: Крышка радиатора, чем чревата не та крышка?
СообщениеДобавлено: 30 дек 2012, 01:50 
Не в сети
Местный
Местный
Аватара пользователя

Зарегистрирован: 01 янв 2006, 04:00
Сообщения: 10044
Тем: 182
Откуда: ХМАО Роман
Машина: др. неЯпонка
О машине: Volkswagen Tiguan
Репутация: 710
А у меня вопрос - маленькие резинки в середине крышки должны свободно болтаться или они жестко подпружиненные должны быть?

_________________
Управлял шесть лет японской мечтой - Toyota Vista Ardeo, теперь управляю немецкой мечтой - DAS AUTO.


Вернуться к началу
 Профиль  
Ответить на тему 
 Заголовок сообщения: Re: Крышка радиатора, чем чревата не та крышка?
СообщениеДобавлено: 30 дек 2012, 19:09 
Не в сети
модератор
Аватара пользователя

Зарегистрирован: 27 окт 2008, 04:00
Сообщения: 12731
Тем: 15
Откуда: Вятка
Машина: др. Японка
О машине: Toyota Prius 51
Репутация: 2381
Должны быть свободны, работают на возврат ОЖ в систему из бачка.

_________________
Vista Ardeo 1999, SV50, D4, Мультик, TV...


Вернуться к началу
 Профиль Отправить email  
Ответить на тему 
 Заголовок сообщения: Re: Крышка радиатора, чем чревата не та крышка?
СообщениеДобавлено: 30 дек 2012, 21:31 
Не в сети
Местный
Местный
Аватара пользователя

Зарегистрирован: 01 янв 2006, 04:00
Сообщения: 10044
Тем: 182
Откуда: ХМАО Роман
Машина: др. неЯпонка
О машине: Volkswagen Tiguan
Репутация: 710
У меня эти резиночки свободно болтаются, никак не подпружинены, вот и думаю так должно быть или пружина просела?

_________________
Управлял шесть лет японской мечтой - Toyota Vista Ardeo, теперь управляю немецкой мечтой - DAS AUTO.


Вернуться к началу
 Профиль  
Ответить на тему 

Показать сообщения за:  Поле сортировки  
Начать новую тему Ответить на тему

 [ Сообщений: 61 ]  На страницу 1, 2, 3, 4, 5  След.





* Поиск по сайту Вверх Вниз

Кто сейчас на конференции

Сейчас этот форум просматривают: нет зарегистрированных пользователей и гости: 0


Вы не можете начинать темы
Вы не можете отвечать на сообщения
Вы не можете редактировать свои сообщения
Вы не можете удалять свои сообщения
Вы не можете добавлять вложения

Найти:
Перейти:  
Текущее время: 11 май 2026, 12:50
Часовой пояс: UTC + 7 часов
Powered by phpbb. (c) VistaClub.ru.    * Статистика