* Поиск по сайту Вверх Вниз



Начать новую тему Ответить на тему  [ Сообщений: 8 ] 
Автор Сообщение
 Заголовок сообщения: Выдавливает антифриз через трубку
СообщениеДобавлено: 12 апр 2012, 19:49 
Не в сети
Любитель
Любитель
Аватара пользователя

Зарегистрирован: 03 дек 2011, 10:54
Сообщения: 96
Тем: 15
Машина: Toyota Vista Ardeo
О машине: 4WD двигатель 3S-FE кузов SV-55
Репутация: 6
Рекламные ссылки. Показывается только незарегистрированным пользователям


В поиске не нашел! Недавно поменял антифриз! С утра пришел в гараж и увидел что если смотреть на капот с правой стороны под машиной лужа антифриза! Машину завел и увидел что через трубку ту что справа радиатора выдавливает его! В чем может быть причина?

_________________
Изображение


Вернуться к началу
 Профиль Отправить email  
Ответить на тему 

 Заголовок сообщения: Re: Выдавливает антифриз через трубку
СообщениеДобавлено: 12 апр 2012, 19:55 
Не в сети
Гуру
Гуру
Аватара пользователя

Зарегистрирован: 29 янв 2011, 00:10
Сообщения: 3318
Тем: 50
Откуда: Нижний
Машина: Toyota Vista Ardeo
О машине: 3s fse 50
Репутация: 483
Так попробуй снять,почистить,поменять хомут...

_________________
www.partsmotors.ru


Вернуться к началу
 Профиль Отправить email  
Ответить на тему 
 Заголовок сообщения: Re: Выдавливает антифриз через трубку
СообщениеДобавлено: 12 апр 2012, 20:12 
Не в сети
Любитель
Любитель
Аватара пользователя

Зарегистрирован: 03 дек 2011, 10:54
Сообщения: 96
Тем: 15
Машина: Toyota Vista Ardeo
О машине: 4WD двигатель 3S-FE кузов SV-55
Репутация: 6
Серж М писал(а):
Так попробуй снять,почистить,поменять хомут...

Какой???

Добавлено спустя 23 минуты 16 секунд:
Там трубка открытая для чего она я даже не знаю! Думал может термостат не выводит жидкость на большой круг поэтому давит...

_________________
Изображение


Вернуться к началу
 Профиль Отправить email  
Ответить на тему 
 Заголовок сообщения: Re: Выдавливает антифриз через трубку
СообщениеДобавлено: 12 апр 2012, 20:43 
Не в сети
модератор
Аватара пользователя

Зарегистрирован: 27 окт 2008, 04:00
Сообщения: 12716
Тем: 15
Откуда: Вятка
Машина: др. Японка
О машине: Toyota Prius 51
Репутация: 2380
Справа по ходу движения стоит расширительный бачок и на нем трубка вентиляции, возможно лишку антифриза залили. Лучше бы на фотке посмотреть.

_________________
Vista Ardeo 1999, SV50, D4, Мультик, TV...


Вернуться к началу
 Профиль Отправить email  
Ответить на тему 
 Заголовок сообщения: Re: Выдавливает антифриз через трубку
СообщениеДобавлено: 12 апр 2012, 21:00 
Не в сети
Специалист
Специалист
Аватара пользователя

Зарегистрирован: 26 июл 2010, 03:00
Сообщения: 399
Тем: 1
Откуда: Новосиб
Машина: Toyota Vista Ardeo
О машине: sv55 3sfe мультивижин
Репутация: 143
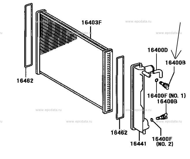
Это трубка "сапуна" сбоку от неё должен быть кран-вентиль белого цвета и он должен быть закрыт, если он завёрнут и всё равно течёт из трубки значит порвалось или слетело резиновое уплотнительное колечко.


Вложения:
Радиатор.png
Радиатор.png [ 36.2 КБ | Просмотров: 851 ]

_________________
Делай что хочешь всё равно потом пожалееш. (с)[album]Изображение[/album]
Вернуться к началу
 Профиль  
Ответить на тему 
 Заголовок сообщения: Re: Выдавливает антифриз через трубку
СообщениеДобавлено: 12 апр 2012, 21:17 
Не в сети
Любитель
Любитель
Аватара пользователя

Зарегистрирован: 03 дек 2011, 10:54
Сообщения: 96
Тем: 15
Машина: Toyota Vista Ardeo
О машине: 4WD двигатель 3S-FE кузов SV-55
Репутация: 6
sinor2001 писал(а):
Это трубка "сапуна" сбоку от неё должен быть кран-вентиль белого цвета и он должен быть закрыт, если он завёрнут и всё равно течёт из трубки значит порвалось или слетело резиновое уплотнительное колечко.

Ах вот оно что:) вот он ответ на мой вопрос! Да даже при закрытом кране течет! Огромное спасибо за информацию:)

Добавлено спустя 2 минуты 7 секунд:
Vyatich писал(а):
Справа по ходу движения стоит расширительный бачок и на нем трубка вентиляции, возможно лишку антифриза залили. Лучше бы на фотке посмотреть.

Эта трубка с другой стороны вот как выше на рисунке! Ответ найден:)

_________________
Изображение


Вернуться к началу
 Профиль Отправить email  
Ответить на тему 
 Заголовок сообщения: Re: Выдавливает антифриз через трубку
СообщениеДобавлено: 12 апр 2012, 21:22 
Не в сети
модератор
Аватара пользователя

Зарегистрирован: 27 окт 2008, 04:00
Сообщения: 12716
Тем: 15
Откуда: Вятка
Машина: др. Японка
О машине: Toyota Prius 51
Репутация: 2380
Теперь понятно, возможно кольцо слетело если выкручивали.

_________________
Vista Ardeo 1999, SV50, D4, Мультик, TV...


Вернуться к началу
 Профиль Отправить email  
Ответить на тему 
 Заголовок сообщения: Re: Выдавливает антифриз через трубку
СообщениеДобавлено: 12 апр 2012, 21:37 
Не в сети
Любитель
Любитель
Аватара пользователя

Зарегистрирован: 03 дек 2011, 10:54
Сообщения: 96
Тем: 15
Машина: Toyota Vista Ardeo
О машине: 4WD двигатель 3S-FE кузов SV-55
Репутация: 6
Vyatich писал(а):
Теперь понятно, возможно кольцо слетело если выкручивали.

Скорее всего слетело! Завтра разберу посмотрю! Я и раньше задавался вопросом зачем эта трубка

_________________
Изображение


Вернуться к началу
 Профиль Отправить email  
Ответить на тему 

Показать сообщения за:  Поле сортировки  
Начать новую тему Ответить на тему

 [ Сообщений: 8 ] 





* Поиск по сайту Вверх Вниз

Кто сейчас на конференции

Сейчас этот форум просматривают: нет зарегистрированных пользователей и гости: 0


Вы не можете начинать темы
Вы не можете отвечать на сообщения
Вы не можете редактировать свои сообщения
Вы не можете удалять свои сообщения
Вы не можете добавлять вложения

Найти:
Перейти:  
Текущее время: 04 апр 2026, 17:51
Часовой пояс: UTC + 7 часов
Powered by phpbb. (c) VistaClub.ru.    * Статистика