* Поиск по сайту Вверх Вниз



Начать новую тему Ответить на тему  [ Сообщений: 10 ] 
Автор Сообщение
 Заголовок сообщения: Не открывается заднее стекло багажника
СообщениеДобавлено: 25 окт 2011, 00:41 
Не в сети
Любитель
Любитель
Аватара пользователя

Зарегистрирован: 10 сен 2011, 14:34
Сообщения: 90
Тем: 7
Машина: Toyota Vista Ardeo
О машине: SV50 , 3S-FSE (D-4) 98 г.
Репутация: 11
Рекламные ссылки. Показывается только незарегистрированным пользователям


Не открывается заднее стекло багажника, после установки сигнализации , чюдо мастер накрутил наверное , может и нет . Но до установки всё работало , в ненадобности не проверял перед тем как забрать машину , а шас что то предьявлять ...

Подскажите люди добрые


Вернуться к началу
 Профиль Отправить email  
Ответить на тему 

 Заголовок сообщения: Re: Не открывается заднее стекло багажника
СообщениеДобавлено: 25 окт 2011, 03:21 
Не в сети
Давно на форуме
Аватара пользователя

Зарегистрирован: 25 янв 2009, 04:00
Сообщения: 10683
Тем: 155
Откуда: Косопузия (Рязань).
Машина: др. Toyota
О машине: SXU10 5S-FE белая ночь 057
Репутация: 1488
CMETAHA писал(а):
Не открывается заднее стекло багажника, после установки сигнализации , чюдо мастер накрутил наверное , может и нет . Но до установки всё работало , в ненадобности не проверял перед тем как забрать машину , а шас что то предьявлять ...

Подскажите люди добрые

Он наверняка повредил\зацепил цепь питания\управления электрозамка стекла.
:smile: ...

_________________
:smoke: Я не парюсь. Уже не курю. Просто люблю на солнце посидеть.
(из личных наблюдений...)


Вернуться к началу
 Профиль  
Ответить на тему 
 Заголовок сообщения: Re: Не открывается заднее стекло багажника
СообщениеДобавлено: 25 окт 2011, 10:03 
Не в сети
Гуру
Гуру
Аватара пользователя

Зарегистрирован: 05 июл 2010, 03:00
Сообщения: 1118
Тем: 2
Откуда: Амурская обл.
Машина: Toyota Vista Ardeo
О машине: VISTA продана теперь WISH,1ZZ, 2008г.
Репутация: 210
Привет. Может мастер фишку в кнопку открывания забыл воткнуть? Я себе сигналку сам ставил тоже забыл. Сними щиток на котором кнопка установлена он надвух саморезах
крепится и посмотри подключена кнопка или нет.

_________________
Да-да, знаю. Страдивари скрипки для лохов делал, а для реальных пацанов — барабаны!


Вернуться к началу
 Профиль  
Ответить на тему 
 Заголовок сообщения: Re: Не открывается заднее стекло багажника
СообщениеДобавлено: 25 окт 2011, 21:48 
Не в сети
Любитель
Любитель
Аватара пользователя

Зарегистрирован: 13 фев 2011, 15:03
Сообщения: 53
Тем: 1
Откуда: Тюмень
Машина: Toyota Vista Ardeo
О машине: 1ZZ-FE,2000г
Репутация: 18
Мне установщик намудрил так,что капот не открывался)


Вернуться к началу
 Профиль Отправить email  
Ответить на тему 
 Заголовок сообщения: Re: Не открывается заднее стекло багажника
СообщениеДобавлено: 25 окт 2011, 22:53 
Не в сети
Любитель
Любитель
Аватара пользователя

Зарегистрирован: 10 сен 2011, 14:34
Сообщения: 90
Тем: 7
Машина: Toyota Vista Ardeo
О машине: SV50 , 3S-FSE (D-4) 98 г.
Репутация: 11
кнопка на месте , завтра поеду к чудо мастеру отрывать чудо руки .


Вернуться к началу
 Профиль Отправить email  
Ответить на тему 
 Заголовок сообщения: Re: Не открывается заднее стекло багажника
СообщениеДобавлено: 10 июн 2024, 07:21 
Не в сети
Любитель
Любитель

Зарегистрирован: 26 июл 2015, 17:42
Сообщения: 80
Тем: 15
Откуда: Горно-Алтайск
Машина: Toyota Vista Ardeo
О машине: SV55, 3SFE, 1998 г.в., 4WD
Репутация: -104
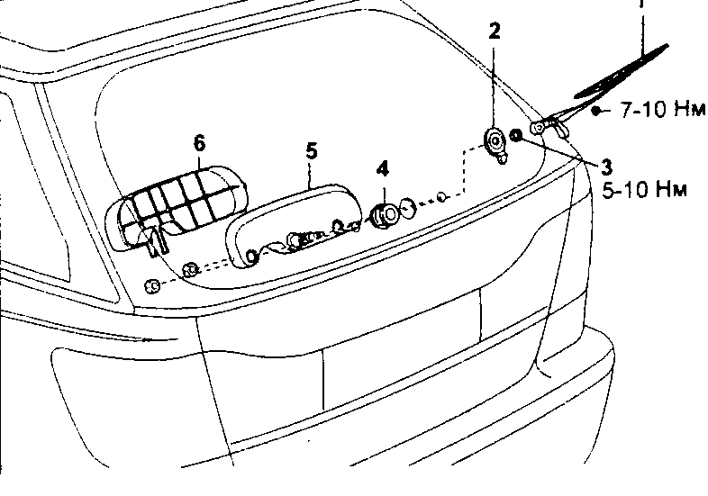
Доброго времени суток! Подскажите, а как снимается механизм работы заднего дворника, а точнее сам задний дворник? Я открутил гайку, которая держит задний дворник, но он все равно не идет.
Вообще проблема, что стекло задней двери не как не открывается - не с ключа не с кнопки. Разобрал обшивку на задней двери и увидел, что рычажок электромоторчика просто болтается, вот хочу разобрать и прикрепить его обратно. И еще когда разобрал обшивку, то выпал болтик, думаю он как раз и скрепляет рычажок этот.
Пробовал тягу руками шевелить, но открывается только замок багажника, а открытие стекла так и не добился. (


Вложения:
Комментарий к файлу: Фото электромоторчика и рычажка.
PXL_20240609_141357725.MP.jpg
PXL_20240609_141357725.MP.jpg [ 766.42 КБ | Просмотров: 11277 ]
Вернуться к началу
 Профиль Отправить email  
Ответить на тему 
 Заголовок сообщения: Re: Не открывается заднее стекло багажника
СообщениеДобавлено: 10 июн 2024, 13:20 
Не в сети
Гуру
Гуру
Аватара пользователя

Зарегистрирован: 25 сен 2008, 03:00
Сообщения: 3341
Тем: 8
Откуда: БАРНАУЛ
Репутация: 2026
masterMvO писал(а):
Доброго времени суток! Подскажите, а как снимается механизм работы заднего дворника, а точнее сам задний дворник? Я открутил гайку, которая держит задний дворник, но он все равно не идет

Снимите изнутри крышку 6, там ещё 2 гаечки


Вложения:
Безымянный2.png
Безымянный2.png [ 26.99 КБ | Просмотров: 11260 ]
1713963762863_default.jpg
1713963762863_default.jpg [ 89.63 КБ | Просмотров: 11253 ]
1713963762871_default.jpg
1713963762871_default.jpg [ 100.6 КБ | Просмотров: 11253 ]

_________________
АРДЕО 1999 БЕЛАЯ MULTIVISION 3S-FE 4WD
Витц литровый...
Вернуться к началу
 Профиль Отправить email  
Ответить на тему 
 Заголовок сообщения: Re: Не открывается заднее стекло багажника
СообщениеДобавлено: 11 июн 2024, 08:52 
Не в сети
Любитель
Любитель

Зарегистрирован: 26 июл 2015, 17:42
Сообщения: 80
Тем: 15
Откуда: Горно-Алтайск
Машина: Toyota Vista Ardeo
О машине: SV55, 3SFE, 1998 г.в., 4WD
Репутация: -104
553 писал(а):
masterMvO писал(а):
Доброго времени суток! Подскажите, а как снимается механизм работы заднего дворника, а точнее сам задний дворник? Я открутил гайку, которая держит задний дворник, но он все равно не идет

Снимите изнутри крышку 6, там ещё 2 гаечки

Я не смог снять сам дворник №1, гайку №2 открутил, но он не снимается, а сильно тянуть опасаюсь, как бы не сломать. Или рычажком аккуратно вытащить, а на стекло дощечку, чтоб стекло не сломать?


Вернуться к началу
 Профиль Отправить email  
Ответить на тему 
 Заголовок сообщения: Re: Не открывается заднее стекло багажника
СообщениеДобавлено: 13 июн 2024, 14:38 
Не в сети
Гуру
Гуру
Аватара пользователя

Зарегистрирован: 25 сен 2008, 03:00
Сообщения: 3341
Тем: 8
Откуда: БАРНАУЛ
Репутация: 2026
Ну тут хз. Молоток, ВДшка, съёмник. Я дощечкой закоцал пластиковый кантик на стекле.

_________________
АРДЕО 1999 БЕЛАЯ MULTIVISION 3S-FE 4WD
Витц литровый...


Вернуться к началу
 Профиль Отправить email  
Ответить на тему 
 Заголовок сообщения: Re: Не открывается заднее стекло багажника
СообщениеДобавлено: 29 июн 2024, 00:41 
Не в сети
модератор
Аватара пользователя

Зарегистрирован: 27 окт 2008, 04:00
Сообщения: 12728
Тем: 15
Откуда: Вятка
Машина: др. Японка
О машине: Toyota Prius 51
Репутация: 2381
masterMvO писал(а):
Я не смог снять сам дворник №1, гайку №2 открутил, но он не снимается, а сильно тянуть опасаюсь, как бы не сломать. Или рычажком аккуратно вытащить, а на стекло дощечку, чтоб стекло не сломать?
Дворник сидит на конусе, нужно аккуратно раскачивать его перпендикулярно оси.

_________________
Vista Ardeo 1999, SV50, D4, Мультик, TV...


Вернуться к началу
 Профиль Отправить email  
Ответить на тему 

Показать сообщения за:  Поле сортировки  
Начать новую тему Ответить на тему

 [ Сообщений: 10 ] 





* Поиск по сайту Вверх Вниз

Кто сейчас на конференции

Сейчас этот форум просматривают: нет зарегистрированных пользователей и гости: 0


Вы не можете начинать темы
Вы не можете отвечать на сообщения
Вы не можете редактировать свои сообщения
Вы не можете удалять свои сообщения
Вы не можете добавлять вложения

Найти:
Перейти:  
Текущее время: 01 май 2026, 03:50
Часовой пояс: UTC + 7 часов
Powered by phpbb. (c) VistaClub.ru.    * Статистика