* Поиск по сайту Вверх Вниз



Начать новую тему Ответить на тему  [ Сообщений: 15 ] 
Автор Сообщение
 Заголовок сообщения: задняя стойка sv30 1993 год
СообщениеДобавлено: 02 май 2012, 01:36 
Не в сети
Профи
Профи

Зарегистрирован: 01 май 2012, 01:36
Сообщения: 825
Тем: 18
Откуда: Санкт-Петербург
Машина: Toyota Vista
О машине: Виста sv30 93г Камри sv 41 94 г
Репутация: 285
Рекламные ссылки. Показывается только незарегистрированным пользователям


вроде на 30 кузов идут два вида стоек,короткие и длинные. снял свою,расстояние от низа стойки до края нижней стороны чашки 34 см. от низа чашки до начала резьбы 9 см.от резьбы до до конца штока 26 см. мо вопрос.жет где то гулять + - 1 см.думаю.вопрос,какие у меня?надо потроха менять,а какие не знаю.


Вернуться к началу
 Профиль  
Ответить на тему 

 Заголовок сообщения: Re: задняя стойка sv30 1993 год
СообщениеДобавлено: 02 май 2012, 01:56 
Не в сети
Гуру
Гуру
Аватара пользователя

Зарегистрирован: 29 янв 2011, 00:10
Сообщения: 3318
Тем: 50
Откуда: Нижний
Машина: Toyota Vista Ardeo
О машине: 3s fse 50
Репутация: 483
Ты про картридж? А фрейм не пробовал в Экзисте забить и заказать четко для своей!?

_________________
www.partsmotors.ru


Вернуться к началу
 Профиль Отправить email  
Ответить на тему 
 Заголовок сообщения: Re: задняя стойка sv30 1993 год
СообщениеДобавлено: 02 май 2012, 02:01 
Не в сети
Профи
Профи

Зарегистрирован: 01 май 2012, 01:36
Сообщения: 825
Тем: 18
Откуда: Санкт-Петербург
Машина: Toyota Vista
О машине: Виста sv30 93г Камри sv 41 94 г
Репутация: 285
я подозреваю,что стойки не родные стоят.заказать то закажу,а кактридж торчать будет,если мал то не беда .проставка спасёт.


Вернуться к началу
 Профиль  
Ответить на тему 
 Заголовок сообщения: Re: задняя стойка sv30 1993 год
СообщениеДобавлено: 02 май 2012, 02:14 
Не в сети
Гуру
Гуру
Аватара пользователя

Зарегистрирован: 29 янв 2011, 00:10
Сообщения: 3318
Тем: 50
Откуда: Нижний
Машина: Toyota Vista Ardeo
О машине: 3s fse 50
Репутация: 483
Ну тогда только рисковать,или заказывать полноценную стойку!

_________________
www.partsmotors.ru


Вернуться к началу
 Профиль Отправить email  
Ответить на тему 
 Заголовок сообщения: Re: задняя стойка sv30 1993 год
СообщениеДобавлено: 02 май 2012, 03:46 
Не в сети
Профи
Профи

Зарегистрирован: 01 май 2012, 01:36
Сообщения: 825
Тем: 18
Откуда: Санкт-Петербург
Машина: Toyota Vista
О машине: Виста sv30 93г Камри sv 41 94 г
Репутация: 285
это да,exist по машине катриджи только даёт.


Вернуться к началу
 Профиль  
Ответить на тему 
 Заголовок сообщения: Re: задняя стойка sv30 1993 год
СообщениеДобавлено: 02 май 2012, 09:05 
Не в сети
Let's Go 4WD
Аватара пользователя

Зарегистрирован: 09 окт 2008, 03:00
Сообщения: 1845
Тем: 54
Откуда: регион 42, Прокопьевск
Машина: др. Toyota
Репутация: 215
Посмотри может на стойке есть маркировка, пробей ее по экзисту и возможно узнаешь оригинальная она или нет!

_________________
Toyota Gaia, 2000, SXM15, 3S-FE, AT, 4WD


Вернуться к началу
 Профиль Отправить email  
Ответить на тему 
 Заголовок сообщения: Re: задняя стойка sv30 1993 год
СообщениеДобавлено: 02 май 2012, 14:43 
Не в сети
Профи
Профи

Зарегистрирован: 01 май 2012, 01:36
Сообщения: 825
Тем: 18
Откуда: Санкт-Петербург
Машина: Toyota Vista
О машине: Виста sv30 93г Камри sv 41 94 г
Репутация: 285
искал маркировку,всё сгнило напрочь. вот и ломаю голову


Вернуться к началу
 Профиль  
Ответить на тему 
 Заголовок сообщения: Re: задняя стойка sv30 1993 год
СообщениеДобавлено: 02 май 2012, 15:41 
Не в сети
Let's Go 4WD
Аватара пользователя

Зарегистрирован: 09 окт 2008, 03:00
Сообщения: 1845
Тем: 54
Откуда: регион 42, Прокопьевск
Машина: др. Toyota
Репутация: 215
Тогда снимай, топай с ней в магаз и там картридж мерий!

_________________
Toyota Gaia, 2000, SXM15, 3S-FE, AT, 4WD


Вернуться к началу
 Профиль Отправить email  
Ответить на тему 
 Заголовок сообщения: Re: задняя стойка sv30 1993 год
СообщениеДобавлено: 02 июн 2012, 20:33 
Не в сети
Давно на форуме
Аватара пользователя

Зарегистрирован: 25 янв 2009, 04:00
Сообщения: 10683
Тем: 155
Откуда: Косопузия (Рязань).
Машина: др. Toyota
О машине: SXU10 5S-FE белая ночь 057
Репутация: 1488
Ну и как вопрос решился?
Тема актуальна?
:smile: ...

_________________
:smoke: Я не парюсь. Уже не курю. Просто люблю на солнце посидеть.
(из личных наблюдений...)


Вернуться к началу
 Профиль  
Ответить на тему 
 Заголовок сообщения: Re: задняя стойка sv30 1993 год
СообщениеДобавлено: 09 июн 2012, 15:51 
Не в сети
Профи
Профи

Зарегистрирован: 01 май 2012, 01:36
Сообщения: 825
Тем: 18
Откуда: Санкт-Петербург
Машина: Toyota Vista
О машине: Виста sv30 93г Камри sv 41 94 г
Репутация: 285
тема актуальна. заказал стойки в сборе сакс и пружины новые овк в eхiste. стойки с европейки,пока нет времени поменять,надеюсь встанут,по результатам отпишусь.


Вернуться к началу
 Профиль  
Ответить на тему 
 Заголовок сообщения: Re: задняя стойка sv30 1993 год
СообщениеДобавлено: 09 июн 2012, 16:37 
Не в сети
Профи
Профи
Аватара пользователя

Зарегистрирован: 07 дек 2010, 03:45
Сообщения: 924
Тем: 8
Откуда: НИНО
Блог: Посмотреть блог (1)
Машина: Toyota Vista
О машине: sv-32. 3S-FE. 1992
Репутация: 28
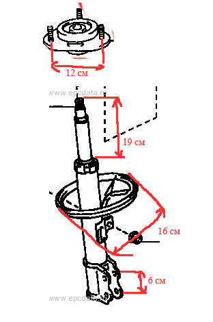
leksis смеряй пожалуйста стойку, пока не поставил - очень нужно, если не трудно конечно...
В таком формате как на картинке.


Вложения:
Схема.jpg
Схема.jpg [ 60.11 КБ | Просмотров: 1407 ]

_________________
Хорь - 2,2, 4WD
Вернуться к началу
 Профиль Отправить email  
Ответить на тему 
 Заголовок сообщения: Re: задняя стойка sv30 1993 год
СообщениеДобавлено: 12 июн 2012, 23:52 
Не в сети
Профи
Профи

Зарегистрирован: 01 май 2012, 01:36
Сообщения: 825
Тем: 18
Откуда: Санкт-Петербург
Машина: Toyota Vista
О машине: Виста sv30 93г Камри sv 41 94 г
Репутация: 285
http://i065.radikal.ru/1206/e4/6ebef68bfbde.jpg
http://s019.radikal.ru/i628/1206/ad/a978761dd184.jpg
вот и заменил стойки. были заказаны в экзисте от еврокамри. были видно в остатках. одна 1800,другая 2100, не разборные сделаны в мексике написано .пружины взял OBK.на мой 30 кузов стоили 1900, а на 40 кузов 1300. взял от40, просто дешевле. результат виден.машина поднялась.на дороге раскачек нет,ямы и бугры проходит мягко, вобщем очень доволен. на первом фото в багажнике две стойки, две пружины и домкрат подкатной в кейсе. а если 2 чела садились то брызговиком по асфальту.сменил шаровые на 555,не знаю сколько отходят. заказал три подуши перед,зад,гелевую. всё оригинал. так же всё по грм вместе с помпой. останется передние амортики сменить. хочу стойки, но вроде говорят на европейках крепление шланга другое.пока вот так. прокатился и денег не жаль,тишина и комфорт.


Последний раз редактировалось leksis 13 июн 2012, 16:14, всего редактировалось 1 раз.

Вернуться к началу
 Профиль  
Ответить на тему 
 Заголовок сообщения: Re: задняя стойка sv30 1993 год
СообщениеДобавлено: 13 июн 2012, 12:11 
Не в сети
Профи
Профи
Аватара пользователя

Зарегистрирован: 07 дек 2010, 03:45
Сообщения: 924
Тем: 8
Откуда: НИНО
Блог: Посмотреть блог (1)
Машина: Toyota Vista
О машине: sv-32. 3S-FE. 1992
Репутация: 28
А номерочки стоек, пружин какие заказывал???

_________________
Хорь - 2,2, 4WD


Вернуться к началу
 Профиль Отправить email  
Ответить на тему 
 Заголовок сообщения: Re: задняя стойка sv30 1993 год
СообщениеДобавлено: 13 июн 2012, 17:17 
Не в сети
Профи
Профи

Зарегистрирован: 01 май 2012, 01:36
Сообщения: 825
Тем: 18
Откуда: Санкт-Петербург
Машина: Toyota Vista
О машине: Виста sv30 93г Камри sv 41 94 г
Репутация: 285
стойки SACHS 313279/ 313280. пружины OBK C4T-38312


Вернуться к началу
 Профиль  
Ответить на тему 
 Заголовок сообщения: Re: задняя стойка sv30 1993 год
СообщениеДобавлено: 14 авг 2012, 13:53 
Не в сети
Специалист
Специалист

Зарегистрирован: 03 авг 2011, 13:28
Сообщения: 167
Тем: 13
Откуда: Камчатка - Киров
Машина: Toyota Vista
О машине: cv30 btpex 2.0 TD автомат ноябрь 1990
Репутация: 0
leksis писал(а):
стойки SACHS 313279/ 313280. пружины OBK C4T-38312

подушки дорогие ли??? а пружины толщина витка и сколько витков можешь посмотреть??? тоже пружины надо менять одна лопнула(((


Вернуться к началу
 Профиль Отправить email  
Ответить на тему 

Показать сообщения за:  Поле сортировки  
Начать новую тему Ответить на тему

 [ Сообщений: 15 ] 





* Поиск по сайту Вверх Вниз

Кто сейчас на конференции

Сейчас этот форум просматривают: нет зарегистрированных пользователей и гости: 0


Вы не можете начинать темы
Вы не можете отвечать на сообщения
Вы не можете редактировать свои сообщения
Вы не можете удалять свои сообщения
Вы не можете добавлять вложения

Найти:
Перейти:  
Текущее время: 08 май 2026, 22:36
Часовой пояс: UTC + 7 часов
Powered by phpbb. (c) VistaClub.ru.    * Статистика