| Автор |
WhiteBug
 |
| Специалист |
 |
Зарегистрирован: 25 фев 2012, 19:46 Сообщения: 152 Откуда: Уссурийск
Машина: Toyota Camry
О машине: SV40 XJ 4S-FE
Блог: Посмотреть блог (1)
|
| Архивы |
Февраль 2012
|
|
Добавлено: 27 фев 2012, 09:55
|
Всем привет. Вот, наконец, приобрел свой собственный автомобиль!! Деньгами особо на момент покупки не располагал, так что долго выбирать мне не пришлось. Несколько часов прогулки по авторынку г. Уссурийска при -38 по цельсию увенчались покупкой Camry SV40 комплектации XJ, сошедшей с конвеера в ноябре 1995 года. Вложение:
22222.jpg [ 845.95 КБ | Просмотров: 2277 ]
Вложение:
3333.jpg [ 911.67 КБ | Просмотров: 2148 ]
Вложение:
1111.jpg [ 749.27 КБ | Просмотров: 2127 ]
В ходе тестирования сего авто выяснил: - Движка - огонь (не считая, что кольцо трамблера подтекает) - Ходовка - требует вмешательства (Наконечники, стойки) - Салон - на 5 с минусом (Водительское сиденье прожжено чуток) В целом машиной доволен. Эксплуатирую ее с ноября месяца. Ремонтом еще не занимался, только поменял передние колодки (Nissinbo) и поменял масло (Toyota SL) и масляный фильтр (Nitto). Как потеплеет заменю ГРМ и переднюю ходовку. Так же в планах поменять акустику вместе с майфуном, затонировать, поставить колеса побольше, спойлер на багажник и козырек сзади на крышу. В общем, буду делать конфетку!! По ходу буду выкладывать фотоотчеты. Кому что интересно - спрашивайте! Буду рад пообщаться.
_________________
|
|
|
|
|
WhiteBug
|
Добавлено: 11 мар 2012, 16:26
|
 |
| Специалист |
 |
Зарегистрирован: 25 фев 2012, 19:46 Сообщения: 152 Откуда: Уссурийск
Машина: Toyota Camry
О машине: SV40 XJ 4S-FE
Блог: Посмотреть блог (1)
|
uraStav писал(а): хде фотки? ждёмс... Не поверите, опять снег идет, отвечаю. Кто с Уссура есть - подтвердит. Когда снегопады кончатся - помою машину и сфотаю
_________________
|
|
| Вернуться к началу |
|
|
WhiteBug
|
Добавлено: 12 мар 2012, 15:49
|
 |
| Специалист |
 |
Зарегистрирован: 25 фев 2012, 19:46 Сообщения: 152 Откуда: Уссурийск
Машина: Toyota Camry
О машине: SV40 XJ 4S-FE
Блог: Посмотреть блог (1)
|
|
Пля!!! Масло жрет, пипец!!! За 1000 км до минимального уровня. Жесть! буду доливать, пока не потеплеет. Нормальная погода установится - надо будет лезть в движок...
_________________
|
|
| Вернуться к началу |
|
|
WhiteBug
|
Добавлено: 13 мар 2012, 09:28
|
 |
| Специалист |
 |
Зарегистрирован: 25 фев 2012, 19:46 Сообщения: 152 Откуда: Уссурийск
Машина: Toyota Camry
О машине: SV40 XJ 4S-FE
Блог: Посмотреть блог (1)
|
|
Вроде разобрались. Из-под трамблера масло вытекает ручьем и из-под масляного датчика немного)) Сегодня, наверное, буду менять резиночки и датчик. Если фотоаппарат не забуду - то выложу фотоотчет
_________________
| Последний раз редактировалось WhiteBug 13 мар 2012, 09:29, всего редактировалось 1 раз. |
|
|
| Вернуться к началу |
|
|
WhiteBug
|
Добавлено: 13 мар 2012, 13:30
|
 |
| Специалист |
 |
Зарегистрирован: 25 фев 2012, 19:46 Сообщения: 152 Откуда: Уссурийск
Машина: Toyota Camry
О машине: SV40 XJ 4S-FE
Блог: Посмотреть блог (1)
|
|
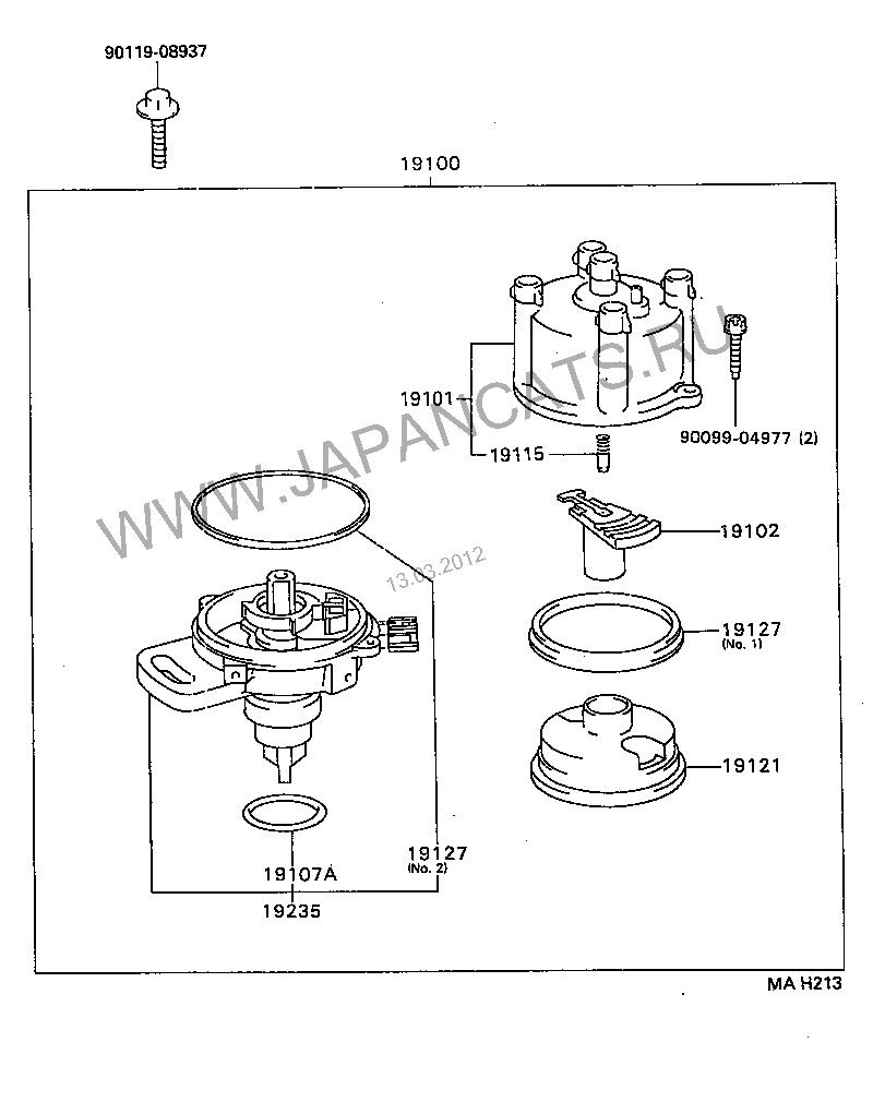
Отставить фотки, так поменял по-быстрому. Кольцо в трамблере было порвано
_________________
|
|
| Вернуться к началу |
|
|
WhiteBug
|
Добавлено: 13 мар 2012, 13:38
|
 |
| Специалист |
 |
Зарегистрирован: 25 фев 2012, 19:46 Сообщения: 152 Откуда: Уссурийск
Машина: Toyota Camry
О машине: SV40 XJ 4S-FE
Блог: Посмотреть блог (1)
|
Вложение:
CImage.png [ 47.62 КБ | Просмотров: 805 ]
Колечко 19107A было заменено, теперь моя душа спокойна
_________________
| Последний раз редактировалось WhiteBug 13 мар 2012, 13:39, всего редактировалось 1 раз. |
|
|
| Вернуться к началу |
|
|
WhiteBug
|
Добавлено: 13 мар 2012, 14:56
|
 |
| Специалист |
 |
Зарегистрирован: 25 фев 2012, 19:46 Сообщения: 152 Откуда: Уссурийск
Машина: Toyota Camry
О машине: SV40 XJ 4S-FE
Блог: Посмотреть блог (1)
|
Бахнул этой штуковины в масло. Очень хвалят - решил попробовать. 900 рублей стоит сие удовольствие. На 4 литра масла как раз этой упаковки достаточно Вложение:
P1030066.JPG [ 594.45 КБ | Просмотров: 791 ]
http://www.agaspb.ru/pages/smt.php Здесь инфа есть об этой присадке
_________________
| Последний раз редактировалось WhiteBug 13 мар 2012, 14:58, всего редактировалось 1 раз. |
|
|
| Вернуться к началу |
|
|
uraStav
|
Добавлено: 14 мар 2012, 11:58
|
Зарегистрирован: 05 май 2009, 03:00 Сообщения: 6759 Откуда: Ставрополье
Машина: Toyota Vista
О машине: седан SV50, 3S-FSE, U240E, 98г.
Блог: Посмотреть блог (7)
|
WhiteBug писал(а): Бахнул этой штуковины в масло. Очень хвалят - решил попробовать. 900 рублей стоит сие удовольствие. На 4 литра масла как раз этой упаковки достаточно http://www.agaspb.ru/pages/smt.php Здесь инфа есть об этой присадке нафига? чудес не бывает. по моему, так развод...
_________________ Случайности не случайны...
|
|
| Вернуться к началу |
|
|
WhiteBug
|
Добавлено: 14 мар 2012, 17:08
|
 |
| Специалист |
 |
Зарегистрирован: 25 фев 2012, 19:46 Сообщения: 152 Откуда: Уссурийск
Машина: Toyota Camry
О машине: SV40 XJ 4S-FE
Блог: Посмотреть блог (1)
|
|
ну не знаю, знакомый моторист посоветовал
_________________
|
|
| Вернуться к началу |
|
|
uraStav
|
Добавлено: 14 мар 2012, 17:26
|
Зарегистрирован: 05 май 2009, 03:00 Сообщения: 6759 Откуда: Ставрополье
Машина: Toyota Vista
О машине: седан SV50, 3S-FSE, U240E, 98г.
Блог: Посмотреть блог (7)
|
WhiteBug писал(а): ну не знаю, знакомый моторист посоветовал ну раз так... кстати, скоро 3-е поколение появится! это я к тому, что люди бабки зарабатывать умеют. про такие кондиционеры споры ведутся изначально, как тока они появились в продаже. у каждого своё мнение, но если советует моторист, то я бы у него не ремонтировался.
_________________ Случайности не случайны...
|
|
| Вернуться к началу |
|
|
WhiteBug
|
Добавлено: 14 мар 2012, 18:13
|
 |
| Специалист |
 |
Зарегистрирован: 25 фев 2012, 19:46 Сообщения: 152 Откуда: Уссурийск
Машина: Toyota Camry
О машине: SV40 XJ 4S-FE
Блог: Посмотреть блог (1)
|
|
ну это субъективно, мне кажется. Но не буду спорить
_________________
|
|
| Вернуться к началу |
|
Кто сейчас на конференции |
Зарегистрированные пользователи: Amazonbot, Google [Bot], GPT, Yandex [Bot] |
|